设为首页

8月贵州最新房价曝光!黔西南房价全省最低,最低的县仅2601元……房产

发布时间:2020-08-11 14:00:03  来源:腾讯网  浏览次数:

转眼间

2020年已经过去一大半

上半年的勤勤恳恳

是否够你实现买房计划呢?

对于想在六盘水买房安家的小伙伴们来说

房价一直都是大家关心的话题

8月贵州各地房价一览表

兴义市景地城・峰域湾(图片来源:亮点黔西南)

以下数据来源于中国房价行情网仅作参考!

具体请以实际为准!

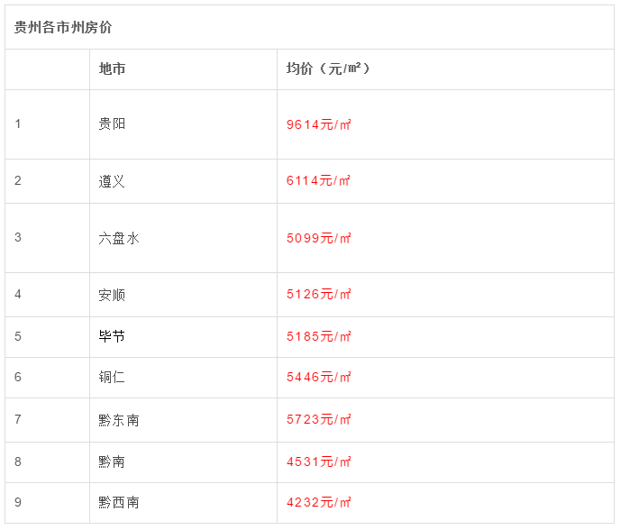
贵州省9州市房价

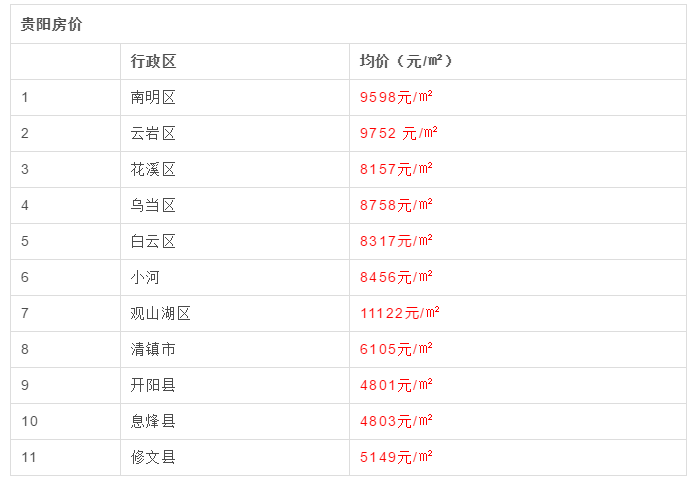
贵阳市

平均房价9614元/m

环比上月+0.03%

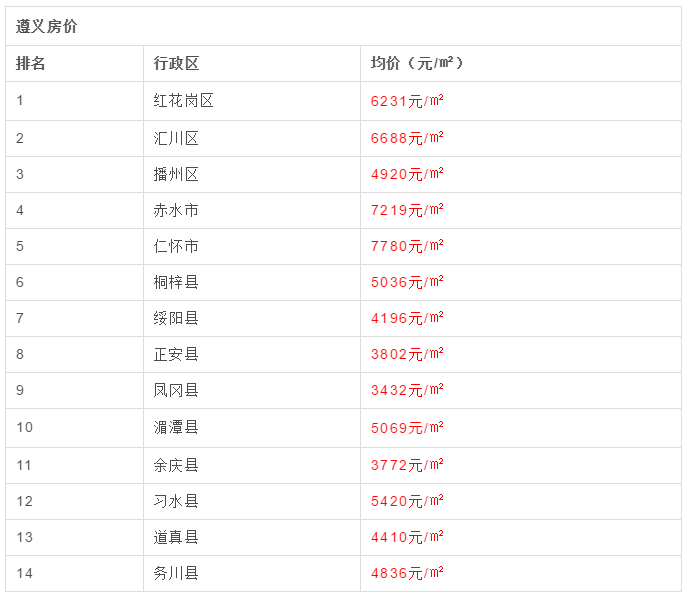
遵义市

平均房价6201元/m

环比上月-0.03%

六盘水市

平均房价5102元/m

环比上月-1.10%

安顺市

平均房价5076元/m

环比上月-0.53%

毕节市

平均房价5077元/m

环比上月-1.16%

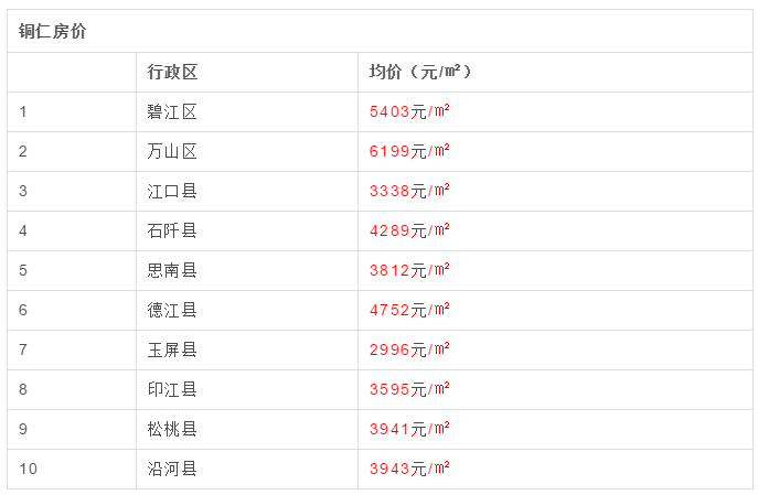
铜仁市

平均房价5426元/m

环比上月+0.02%

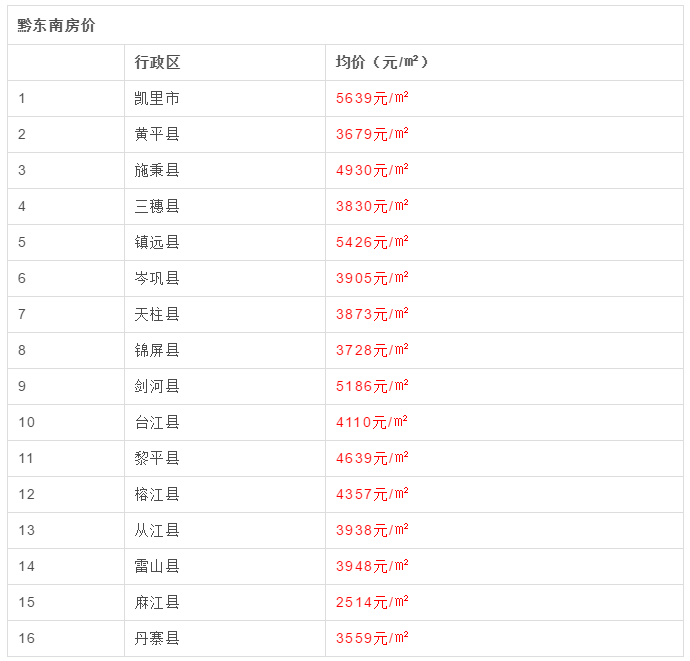
黔东南州

平均房价5639元/m

环比上月-0.35%

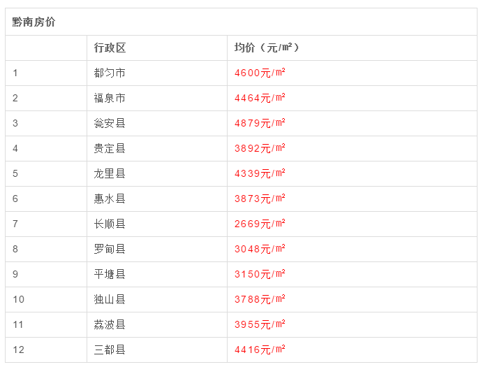
黔南州

平均房价4595元/m

环比上月-0.11%

黔西南州

平均房价4154元/m

环比上月 +0.39%

据最新数据显示

贵州9地州市中

房价最高贵阳观山湖区(11,123元/�O )

数据来源于中国房价行情网

仅作参考,具体价格请以请以实时房价为准

别急!还没完!

视听妹再带你们来了解下工资情况

据贵州省统计局网站消息

经国家统计局审定

2019年贵州省城镇非私营单位

从业人员年平均工资为83298元

与2018年相比

增加了4982元

同比增长6.36%

按照企事业、机关分:

事业单位从业人员年平均工资最高,为88773元,其次是企业从业人员,为81780元,机关单位最低,为80813元。

分行业类别看

年平均工资排名前三的是:金融业132008元电力、热力、燃气及水生产和供应业110790元,信息传输、软件和信息技术服务业104948元,这三个行业年平均工资分别是全省平均水平的1.58倍、1.33倍和1.26倍。

从涨幅来看

建筑业、租赁和商务服务业、批发和零售业涨幅最大,分别为16.04%、13.32%和11.40%。

下面再来看看2019年贵州各地在岗

职工年平均工资

贵州省人社厅发布消息,2019年贵州省城镇单位就业人员平均工资和企业离退休人员平均基本养老金已公布。

2019年,全省全口径城镇单位就业人员年平均工资72113元,同比增长6.1%;在岗职工年平均工资74490元,同比增长6.4%。

市(州)全口径城镇单位

就业人员年平均工资、

在岗职工年平均工资分别为――

贵阳市81766元(在岗83108元)

遵义市75148元(在岗78015元)

六盘水市64760元(在岗68095元)

安顺市66129元(在岗68272元)

毕节市65768元(在岗67291元)

铜仁市64104元(在岗68359元)

黔东南州66464元(在岗68953元)

黔南州66289元(在岗68153元)

黔西南州69347元(在岗73245元)

你家的房价情况如何?

增加工资的有没有你的行业?

欢迎大家在评论区留言分享~~~

来源:贵州热点、多彩贵州网、中国房价行情网

视听凉都综合整理

  • 0

    开心

  • 0

    板砖

  • 0

    感动

  • 0

    有用

  • 0

    疑问

  • 0

    难过

  • 0

    无聊

  • 0

    震惊

评论已有 0